可靠的网上十大国外赌博平台

合肥市瑶海区人民政府办公室关于印发《合肥市瑶海区药品安全突发事件应急预案》的通知_瑶海区人民政府(政府办公室) 合肥市瑶海区人民政府办公室关于印发《合肥市瑶海区药品安全突发事件应急预案》的通知_瑶海区人民政府(政府办公室)

可靠的网上十大国外赌博平台

返回首页
    首页 > 瑶海区人民政府(政府办公室) > 政策法规 > 其他文件

    合肥市瑶海区人民政府办公室关于印发《合肥市瑶海区药品安全突发事件应急预案》的通知

    发布时间: 2025-09-23 14:08  信息来源: 瑶海区人民政府(政府办公室) word下载word pdf下载pdf
    【字体:  

    合肥东部新中心建设管理办公室,大兴镇人民政府、龙岗街道筹备组、各街道办事处,区政府各部门,各直属机构,驻区各有关单位:

    《合肥市瑶海区药品安全突发事件应急预案》已经区政府第95次常务会议审议通过,现印发给你们,请认真贯彻执行。

     

     

                                  合肥市瑶海区人民政府办公室

                                    2025年9月23日


    瑶海区药品安全突发事件应急预案

     

       

    1 总则

    1.1 编制目的

    1.2 编制依据

    1.3 适用范围

    1.4 突发事件分类分级 4

    1.5 工作原则

    2 应急指挥体系

    2.1 应急指挥部 5

    2.2 应急指挥部办公室

    2.3 工作组

    2.4 专家组 6

    2.5 专业技术机构

    3 监测与预警 7

    3.1 监测

    3.2 预警 8

    4 处置措施

    4.1 信息报告

    4.2 先期处置

    4.3 启动应急响应

    4.4 处置措施 14

    4.5 响应级别调整

    4.6 响应终止 16

    4.7 信息发布

    5 后期处置

    5.1 善后处置

    5.2 调查评估

    5.3 善后恢复 18

    5.4 责任与奖惩

    6 保障措施

    6.1 队伍保障

    6.2 资金与物资保障

    6.3 医疗保障 19

    6.4 交通保障 19

    6.5 信息保障 19

    6.6 社会动员保障

    7 预案管理

    7.1 宣传培训

    7.2 预案编制

    7.3 应急演练

    7.4 预案解释

    7.5 生效时间

    7.6 名词术语解释

    8 附件 21

    8.1.药品安全突发事件分级标准 22

    8.2.医疗器械安全突发事件分级标准

    8.3.化妆品安全突发事件分级标准

    8.4.疫苗质量安全突发事件分级标准

    8.5.区应急指挥部组成及职责

    8.6.工作组职责 29

    8.7.瑶海区药品安全突发事件应急处置流程图 31

     


    1 总则

    1.1 编制目

    坚持以习近平新时代中国特色社会主义思想为指导,深入贯彻落实习近平总书记关于药品安全和应急管理重要论述,建立健全全区药品(含医疗器械、化妆品疫苗,下同)安全突发事件应对工作机制,科学高效有序做好事件的应急处置工作,最大限度地减少危害,保障公众健康和生命安全,维护正常的社会经济秩序。

    1.2 编制依

    依据《中华人民共和国突发事件应对法》《中华人民共和国药品管理法》《中华人民共和国疫苗管理法》《突发公共卫生事件应急条例》《中华人民共和国药品管理法实施条例》《医疗器械监督管理条例》《化妆品监督管理条例》突发事件应急预案管理办法《安徽省药品安全突发事件应急预案》《合肥市药品安全突发事件应急预案》《合肥市突发事件总体应急预案》《瑶海区突发事件总体应急预案》等法律法规及相关应急预案,结合本实际,制定本预案。

    1.3 适用范

    本预案适用于发生在我或区外发生涉及我区的药品安全突发事件应对处置工作。对医疗事故不合理使用药品医疗器械和疫苗等不涉及药品疗器械和疫苗质量安全的突发卫生事件的应对处置工作,按照《医疗事故处理条例》《瑶海区突发公共卫生事件应急预案》等有关规定,由卫生健康主管部门负责应对处置。

    1.4 突发事件分类分

    1.4.1 突发事件分类

    本预案所称药品安全突发事件是指对社会公众生命健康造成或可能造成严重损害,需要采取应急处置措施予以应对的以下事件:

     药品群体不良事件、药品质量事件;

     医疗器械群体不良事件、医疗器械质量事件;

     化妆品群体不良事件、化妆品质量事件;

     疫苗疑似群体预防接种异常应、群体不良事件,经卫生健康主管部门组织专家调查诊断确认或者怀疑与疫苗质量有关,或者日常监督检查和风险监测中发现的疫苗质量安全信息;

     其他严重影响公众生命健康的药品、医疗器械、化妆品安全突发事件和疫苗质量安全事件。

    1.4.2 突发事件分级

    根据突发事件的危害程度和影响范围等因素,分为四级:特别重大事件(I级)、重大事件(级)、较大事件(级)和一般事件(IV级)(分级标准见附件1-4)。

    1.5 工作原

    人民至上、生命至上,统一领导、分级负责,快速反应、协同应对,预防为主、依法处置。

    2 应急指挥体系

    2.1 应急指挥部

    当启动级、级、级及级突发事件应急响应时区人民政府成立药品安全突发事件应急指挥部(以下简称“区应急指挥部),统一组织、指挥、协调全突发事件应对工作。

      区人民政府分管副长。

    副总指挥区政府办主任,区市场监管局、卫生健康委主要负责同志

        员:委宣传部网信办局、工信局、公安瑶海分局、民政局、财政局、区住建局、文旅局、卫生健康委、应急局、市场监管局、医保局、信访局各街镇等,区应急指挥部根据处置工作需要,可增加有关部门为成员单位。职责见附件5

    2.2 应急指挥部办公

    区应急指挥部下设办公室,为区应急指挥部日常工作机构。办公室设在市场监管局,主任由市场监管局主要负责同志兼任。

    2.3 工作

    根据突发事件处置需要,区应急指挥部下设综合协调调查评估危害控制医疗救治社会稳定新闻宣传工作组,在区应急指挥部统一领导下开展工作,并按要求向区应急指挥部办公室报告工作进展情况。各工作组的设立及人员组成可结合实际进行调整。(相关职责见附件6

    2.4 专家组

    根据需要,区市场监管局会同卫生健康委组建突发事件应急处置专家库。突发事件发生后,根据应急处置工作需要,市或区专家库中遴选专家成专家组,负责事件综合研判,提出预警分级和处置措施等决策建议,对预警和应急响应的调整、解除及评估提供咨询意见,必要时直接参加应急处置工作。

    2.5 专业技术机

    核查检查机构不良反应监测机构和疾病预防控制机构含疫苗接种单位、医疗机构是突发事件应急处置的专业技术机构,依照各自职责配合区市场监管局卫生健康等主管部门完成突发事件的应急处置工作。

    2.5.1 核查检查机构

    合肥市市场监管综合行政执法支队瑶海大队为药品安全突发事件应急处置的核查检查机构,负责对涉及的企业进行现场检查、核查,对涉事产品进行调查、原因分析,提出应对措施并对疑似不安全药品及时抽样委托有资质的检验检测机构进行检验

    2.5.2 不良反应监测机构

    负责对药品、化妆品不良反应和医疗器械不良事件监测以下简称不良反应事件监测收集、汇总、分析、评价和上报监测信息,提出预警建议。

    2.5.3 疾病预防控制机构含疫苗接种单位)

    负责对涉及疫苗疑似预防接种异常反应事件的相关信息的收集、核实和分析,开展流行病学调查;配合控制涉事产品,分析发生原因,协助评估事件危害程度。

    2.5.4 医疗机构

    负责患者的现场抢救、运送、诊断、治疗等救治工作;承担本单位不良反应(事件)监测和报告工作,配合开展临床调查和控制涉事产品;协助分析发生原因,评估事件危害程度;必要时可采取暂停使用(接种)涉事产品的紧急措施。

    3 监测与预警

    人民政府及有关部门要建立健全突发事件预警监测制度积极开展风险分析和评估,做到早发现、早报告、早预警、早处置。

    3.1 监测

    依托区市场监管局卫生健康及其专业技术机构按照职责分工开展产品质量检验、不良反应事件监测、预防接种异常反应监测等工作,及时掌握突发事件风险隐患信息;对监督抽检、执法检查、医疗行为中发现的安全风险隐患以及广播、电视、报刊、互联网媒体等相关热点敏感信息进行跟踪、收集、分析和研判,并按规定及时报告。

    3.2 预警

    根据监测信息和专家组的建议,对本行政区域内突发事件的相关危险因素进行分析,对可能危害公众健康的风险因素、风险级别、影响范围、紧急程度和可能存在的危害提出分析评估意见,及时采取预警措施并按规定程序和权限适时向社会发布突发事件警示信息,向有关单位进行预警提示。

    3.2.1 预警分级

    按照紧急程度、发展势态和可能造成的危害程度,预警从高到低分为一级、二级、三级和四级,分别用红色、橙色、黄色和蓝色标示,红色为最高级别。

    3.2.2 预警信息发布

    疫苗安全风险警示信息,由国务院药品监管部门会同有关部门发布;药品安全风险警示信息由国务院药品监管部门统一发布,其影响限于特定区域的,由省人民政府药品监管部门发布;医疗器械和化妆品安全警示信息,由负责药品监管部门按有关规定权限,根据相关部门的产品质量检验、不良反应事件监测、预防接种异常反应监测等信息确定与发布。

    3.2.3 预警内容

    预警信息的内容主要包括事件类别、预警级别、起始时间、可能影响范围、警示事项、应采取的措施、发布机关、发布时间和咨询电话等。

    3.2.4 预警行动

    预警信息发布后,事发地街镇及有关部门应迅速进入应急状态,密切关注事态发展,加强预警信息相互通报,做好启动应急响应准备,视情采取相应措施。

    1)分析研判。市场监管局组织有关部门和机构对突发事件信息进行收集、核查、汇总和分析研判及时跟踪监测并做好启动应急响应准备。

    2)防范措施。迅速采取有效防范措施,防止事件进一步蔓延扩大。加强对涉事产品安全及可能存在的危害进行科普宣,告知公众停止使用相关产品。

    3)应急准备。做好应急保障准备工作加强对事发地应急处置工作的指导,必要时派出工作组赶赴现场。

    4)舆论引导。准确发布事态进展情况,组织专家对可能产生的危害进行分析、说明,加强舆情跟踪监测,主动回应社会关切,及时澄清谣言传言。

    5)信息互通。向相关成员单位及时通报预警信息。

    3.2.5 预警调整和解除

    根据事件的发展态势、处置情况和评估结果,及时作出预警级别提升、降低和解除的调整。当突发事件风险已经消除,发布警示信息的部门应当及时解除预警,终止预警期。

    4 处置措施

    4.1 信息报告

    区人民政府、街镇及有关部门要依据快报事实、慎报原因、实事求是、依法处置的原则,建立完善信息报告制度

    4.1.1 报告主体

    1区市场监管局卫生健康和事发地医疗机构;

    2核查检查机构、不良反应事件监测和疾病预防控制含疫苗接种单位等专业技术机构;

    3)药品、疫苗上市许可持有人,医疗器械注册备案人,化妆品注册备案及生产、经营和使用单位;

    4其他单位和个人应当向人民政府、各街镇及有关部门报告事件及其隐患的相关信息

    4.1.2 报告程序

    区人民政府、街镇和有关部门获知突发事件信息后,要按照相关规定,如实向上级政府和上级主管部门报告。按照由下至上逐级报告,遇有紧急情况可越级报告。

    4.1.3 报告内容及时限

    突发事件发生后,区市场监管局要尽快掌握情况,根据事件发生、发展、控制过程,按照初报事件要素、续报事件详情、终报事件结果的原则,分步骤、分重点报告相关信息。

    (1)初报。初报主要内容包括:信息来源、发生时间、地点、事件名称、性质,简要经过、当前状况、主要症状与体征、伤亡人数,已经采取的措施、发展趋势和潜在危害程度,所涉及产品的生产经营单位、名称、规格、包装、批号、数量和生产日期等信息,下一步工作计划和建议、需要帮助解决的问题,报告单位、联络员及通讯方式等其他信息。

    特别重大、重大突发事件,应在获知相关信息20分钟内电话报告,45分钟内书面报告;较大突发事件,应在获知相关信息后1小时内书面上报,最迟不得晚于2小时上报;其他突发事件可能涉及药品安全的,应在获知相关信息后24小时内书面上报。对于突发事件本身比较敏感或发生在重点地区、重要时期,或可能演化为特别重大、重大突发事件的,不受分级标准限制,一律第一时间报告。

    2)续报。续报主要内容包括:突发事件调查情况和原因分析结果、涉事产品控制情况、影响评估、舆情研判、采取的应急措施和后续工作计划,并对前次报告的内容进行补充修正等。续报可根据事件进展多次进行,直到调查处理结束。特别重大、重大突发事件每天至少上报1次信息,其他级别突发事件在处置过程中,取得重大进展或可确定关键性信息的,应在12小时内上报进展情况。

    3)终报。终报主要内容包括:事件概况、调查处理过程、事件性质、影响因素、责任认定、追溯或处理结果、整改措施、监管措施完善建议等,对突发事件应急处置过程中的经验和存在问题进行总结评估,并提出今后防范类似事件发生的措施和建议。终报应在事件处置结束后5个工作日内报送。

    4.1.4 报告途径

    一般采取书面形式报告,紧急情况下可先通过网络、电话上报,后续及时报送相关书面材料;终报经报送单位主要负责同志签发后,以单位正式文件形式上报;报告应确保信息核实无误、文字简洁准确,报告内容涉及秘密的,应按照有关规定办理。

    4.2 先期处置

    突发事件发生时,事发单位是先期处置的第一责任人,应立即启动处置方案,组织本单位应急队伍和工作人员救助患者;调查、控制可能的危险源,暂停生产、经营、使用接种质量可疑产品,采取集中放置并标识等必要措施防止危害扩大;疑似不良反应(事件)的风险信息,及时填报至国家不良反应监测系统;同时,向所在地人民政府及有关部门报告。

    事发地街镇及区市场监管局卫生健康、公安瑶海分局等有关部门应当立即赶赴现场,组织开展先期处置,迅速控制事态,上报关信息。

    1)事发地街镇及有关部门:保护事发现场,积极配合卫生健康组织救治患者,并向上级人民政府和上级主管部门报告;

    2区市场监管局:依法采取必要紧急控制措施,收集、汇总事件信息,根据现场实际或征询有关部门、专家意见进行研判,初步判定事件性质、等级,按对应权限报请启动应急响应。

    3卫生健康:组织医疗卫生机构实施医疗救援,积极开展患者救治;对相关患者病历资料进行封存,暂停可疑产品使用接种并对使用接种情况进行调查。

    3)公安瑶海分局:加强事件现场及周边区域的治安管理;对突发事件中涉嫌违法犯罪的,依法开展侦办工作。

    4区委宣传部:做好舆情引导和应对工作。

    4.3 启动应急响应

    4.3.1 响应分级

    按照统一领导、分级负责的原则,根据突发事件特别重大、重大、较大、一般的分级,事件应急响应分别为级、级、级、个响应级别。

    4.3.2 启动应急响应

    1药品、医疗器械、化妆品I级、级应急响应和涉及疫苗质量安全事件的I级、级、级应急响应

    发生特别重大、重大药品、医疗器械、化妆品安全突发事件和特别重大、重大、较大疫苗质量安全事件,或者经分析研判认为突发事件有进一步升级为上述等级突发事件趋势时,由国务院、国家有关部委或省人民政府,决定启动I级、涉及疫苗质量安全事件I级、级、级应急响应;涉及本行政区域或需要本相关职能部门参与处置的,区人民政府对应国家、省级的分级确定响应级别并启动响应。在上级应急指挥机构的统一领导下开展工作。

    2药品、医疗器械、化妆品级应急响应和涉及疫苗质量安全事件IV级应急响应

    发生较大药品、医疗器械、化妆品安全突发事件和一般疫苗质量安全事件,或者经分析研判认为突发事件有进一步升级为上述等级突发事件趋势时,由人民政府决定并启动级或涉及疫苗质量安全事件IV级应急响应涉及本区行政区域或需要本区相关职能部门参与处置的,由区人民政府对应级的分级确定响应级别并启动响应。在上级应急指挥机构的统一领导下开展工作。

    3药品、医疗器械、化妆品IV级应急响应

    本区行政区域内发生一般药品、医疗器械和化妆品安全突发事件,或者经分析研判认为突发事件有进一步发展为一般等级突发事件趋势时,区人民政府决定并启动IV应急响应,组织、指挥、协调、调度相关应急力量和资源实施应急处置。事发地街镇及区市场监管局、区卫生健康委和公安瑶海分局等部门按照职责分工密切配合,共同实施应急处置,及时将应急响应启动、先期处置等情况区人民政府上级主管部门报告。

    4.4 处置措施

    在先期处置的基础上,区应急指挥部根据突发事件具体情况,统一指挥各工作组,按照分工采取以下措施。

    4.4.1 药品、医疗器械、化妆品I级和涉及疫苗质量安全事件IIV级应急响应处置措施

    应急响应启动后,在应急响应处置措施的基础上增加调整以下措施:

    1区应急指挥部纳入上级应急指挥体系,在上级应急指挥机构的统一领导下,研究、部署、协调、调度应急处置工作。指挥部办公室负责收集、分析、汇总相关事件调查情况并通知各成员单位到指定地点集中,根据事件处置需要成立相应工作组开展工作。

    2建立日报告制度各工作组牵头部门每天将工作进展情况报区应急指挥部,区应急指挥部汇总后报告上级应急指挥机构

    3加强现场指挥协调开展事件调查,维护社会稳定,做好善后处置等工作。

    4进一步加强舆情监测舆论引导,并采取措施,防止大规模群体性事件或极端事件的发生。

    4.4.2 药品、医疗器械、化妆品IV级应急响应处置措施

    应急响应启动后,各相关成员单位派员区应急指挥部指定地点集中,区应急指挥部根据事发地、相关企业和单位所在地的分布情况以及事件的性质、危害程度、范围和控制情况,成立相应工作组和专家组,作出以下处置措施

    1)贯彻落实国家及省委省政府省药监局、市委市政府、市市场监管局相关部署要求。

    2)召开区应急指挥部会议,研究部署应急处置工作。分析研判药品安全突发事件发展趋势,组织工作组相关人员到达现场,听取先期处置情况汇报,商定现场处置方案,做好现场处置工作

    3)区应急指挥部办公室及时收集、汇总、核实、评估事件信息和应急处置进展情况,建立报告制度,做好信息通报。

    4)根据现场处置工作需要,调动各方应急资源和力量参与应急处置,并通报成员单位,按照各自职责权限开展应急救援工作,协调组织疾病预防控制、交通运输、网络通信、物资供应等部门做好应急保障必要时请求上级主管部门调派应急处置专业队伍和救援保障物资,参与救援

    5)密切关注事件发展趋势,及时掌握现场处置情况

    6)加强应急宣传报道,统一发布事件处置进展情况,并收集分析舆情,做好舆论引导。

    7)按有关规定进行信息发布。

    各工作组和专家组开展处置情况及时向区应急指挥部办公室报告。

    4.5 响应级别调整

    突发事件处置过程中,应遵循事件发生、发展的客观规律,结合实际情况和处置工作需要,根据评估结果及时调整应急响应级别。调整的主体与程序,按照响应启动规定执行。

    4.5.1 级别提升。当事件进一步加重,影响和危害有扩大蔓延趋势,情况复杂难以控制时,应当及时提升响应级别。

    4.5.2 级别降低。当事件危害或不良影响得到有效控制,经研判认为事件危害或不良影响降低到原级别评估标准以下,且无进一步蔓延趋势的,应当及时降低应急响应级别。

    4.6 响应终止

    患者病情稳定或损伤得到控制,24小时内无新发病例,涉事产品及原辅料得到有效控制,源头追溯清楚,原因查明,责任厘清,社会舆论得到有效引导,突发事件得到控制,区应急指挥部及时组织风险研判,经区应急指挥部总指挥同意,终止应急响应。

    4.7 信息发布

    信息发布应坚持实事求是、及时准确、客观公正的原则区应急指挥部或者授权其新闻宣传组统一协调、组织报道。信息可通过接受记者采访、召开新闻发布会等形式进行发布充分利用广播、电视、报纸、互联网等多种媒体平台,及时回应社会关切,澄清不实信息,杜绝新闻媒体的不准确报道,最大限度地避免或减少公众猜测。

    参与处置工作的单位和个人不得擅自对外发布相关信息。任何单位和个人不得编造、散布虚假药品安全信息。

    4.7.1 信息发布内容

    信息发布主要包括事件概况、严重程度、影响范围、应对措施、需要公众配合采取的措施、公众防范常识和突发事件处理进展情况等内容。

    4.7.2 信息发布权限和要求

    1)特别重大疫苗质量安全事件由国务院以及国家疫苗管理部际联席会议统筹发布相关信息。

    2)特别重大药品、医疗器械、化妆品安全突发事件和重大疫苗质量安全事件由国家药监局统一发布相关信息。

    3)重大药品、医疗器械、化妆品安全突发事件和较大疫苗质量安全事件,由省应急指挥部第一时间通过主流媒体向社会发布简要信息。

    4)较大药品、医疗器械、化妆品安全突发事件和一般疫苗质量安全事件,由市应急指挥部及时发布权威信息,根据处置进展动态发布相关信息。

    5)一般药品、医疗器械化妆品安全突发事件,由区人民政府及时发布权威信息,根据处置进展动态发布相关信息。

    5 后期处置

    5.1 善后处置

    善后处置工作主要包括人员救助、抚恤、补偿,征用物资及运输工具补偿,应急处置及医疗机构垫付费用、突发事件受害者后续治疗费用、涉事产品抽样及检验费用的拨付,污染物收集、清理与处理等工作。

    事发地街镇及有关部门应统筹做好善后处置工作,尽快妥善安置、慰问受害和受影响人员,消除事件影响,恢复正常秩序,确保社会稳定;完善相关政策,促进行业健康发展。事件的责任单位和责任人应当按照有关规定对受害人给予赔偿或补偿区市场监管局会同卫生健康组织受突发事件影响的疫苗补种等善后处置工作。

    5.2 调查评估

    突发事件处置工作结束后,区人民政府组织区市场监管局、公安瑶海分局卫生健康等部门对突发事件的起因、性质、影响、责任、经验教训等进行调查评估,评估应急处置工作开展情况和效果,提出对类似事件的防范和处置建议,并向市人民政府市市场监管提交书面调查报告。

    较大以上级别药品、医疗器械、化妆品安全突发事件和一般疫苗质量安全事件按照国家、省级市级有关规定执行。

    5.3 善后恢复 

    区应急指挥部根据上级部门对事件的定性和事件造成的损失,提出善后处理意见,报区人民政府,指导并协调事发地街镇做好善后处置工作,及时恢复正常生产、生活秩序。

    5.4 责任与奖惩

    人民政府及有关部门根据相关规定,建立健全应急管理工作领导责任制和责任追究制,将应急处置工作纳入绩效考核。对迟报、谎报、瞒报和漏报突发事件重要情况,或者应急处置不力等其他失职、渎职行为的,依照有关规定给予处分;构成犯罪的,依法追究刑事责任。

    对应急管理工作中做出突出贡献的先进集体和个人,按照有关规定给予褒扬激励。

    6 保障措施

    6.1 队伍保障

    强化应急处置专业队伍能力建设,提高快速应对能力和技术水平

    6.2 资金与物资保障

    人民政府要做好突发事件防范和应对工作经费保障根据有关法律法规和应急预案的规定,储备有关物资、装备,依托现有资源,合理布局并补充完善应急装备,完善相应的应急保障措施。

    6.3 医疗保障

    卫生健康发挥应急医疗救治体系作用,在突发事件造成人员伤害时,及时开展医疗救治、卫生处理等工作工信局卫生健康委等部门根据应急物资储备机制,按照实际情况和区人民政府事发地街镇的需求,及时提供卫生医疗物资保障。

    6.4 交通保障

    应急处置过程中,公安、交通等有关部门建立健全交通运输保障联动机制,保证紧急情况下应急交通工具的优先安排、优先调度、优先放行,确保运输安全畅通。

    6.5 信息保障

    人民政府各街镇和有关部门负责建立健全不良反应事件监测、投诉举报等信息网络体系,完善相关信息数据库和信息报告系统,积极运用大数据等先进信息技术监测分析药品安全热点敏感信息。加强基层药品安全信息网络建设,实现信息快速传递和反馈,提高快速反应能力。

    6.6 社会动员保障

    人民政府各街镇和有关部门建立有效的社会动员机制,增强全民药品安全和风险防范意识,提高全社会避险救助能力根据应急处置的需要,动员和组织社会力量协助参与应急处置工作必要时,依法征用企业及个人物资;在应急处置过程中动用社会力量或企业、个人物资的,应当及时归还或给予补偿。

    7 预案管理

    7.1 宣传培训

    人民政府各街镇及有关部门要加强安全用药、用械和用妆宣传,普及药品管理等法律法规,定期开展安全用药科普活动不断提高全社会的风险意识和防范能力。

    人民政府各街镇区市场监管局要建立健全应急管理培训制度,对应急管理队伍开展定期业务轮训。加强药品经营使用接种单位应急处置宣传培训,增强责任意识和应急管理能力。

    7.2 预案编制

    区人民政府制定本行政区域药品安全突发事件应急预案,并抄送上级相关主管部门和应急管理部门。

    7.3 应急演练

    人民政府各街镇区市场监管局要建立应急演练制度,开展常态化应急演练,检验和强化应急响应能力,及时对应急演练进行总结评估针对演练中发现问题需要作出重大调整的或面临的风险发生重大变化、重要应急资源发生重大变化等情况时及时修订应急预案,完善应急措施,不断提高应急处置能力。

    7.4 预案解释

    本预案由市场监管局负责解释

    7.5 生效时间

    自发布之日起施行,原《瑶海区药品和医疗器械安全突发事件应急预案》(政〔201619号)同时废止。

    7.6 名词术语解释

    本预案术语及含义参见《中华人民共和国药品管理法》《中华人民共和国疫苗管理法》《医疗器械监督管理条例》《化妆品监督管理条例》《药品不良反应报告和监测管理办法》等相关法律法规、规范及标准。

    8 附件

    8.1.药品安全突发事件分级标准

    8.2.医疗器械安全突发事件分级标准

    8.3.化妆品安全突发事件分级标准

    8.4.疫苗质量安全突发事件分级标准

    8.5.相关成员单位及职责

    8.6.工作组职责

    8.7.瑶海区药品安全突发事件应急处置流程图

     

     


    附件1

    药品安全突发事件分级标准

     

    事件类别

       

    特别重大I

    符合下列情形之一的与药品质量相关事件:

    1.在相对集中的时间和区域内,批号相对集中的同一药品引起临床表现相似的,且罕见的或非预期的不良反应的人数超过50或者引起特别严重不良反应(可能对人体造成永久性伤残、对器官功能造成永久性损伤或危及生命下同)的人数超过10

    2.同一批号药品短期内引起5人(含)以上患者死亡

    3.短期内本及其他1个以上区、市因同一药品发生重大药品安全突发事件

    4.其他危害特别严重的药品安全突发事件。

    重大

    符合下列情形之一的与药品质量相关事件:

    1.在相对集中的时间和区域内,批号相对集中的同一药品引起临床表现相似的,且罕见的或非预期的不良反应的人数超过30少于50人;或者引起特别严重不良反应的人数超过5

    2.同一批号药品短期内引起2以上、5患者死亡,且在同一区域内同时出现其他类似病例;

    3.短期内本省内2个以上市因同一药品发生较大药品安全突发事件

    4.其他危害严重的药品安全突发事件。

    较大

    符合下列情形之一的与药品质量相关事件:

    1.在相对集中的时间和区域内,批号相对集中的同一药品引起临床表现相似的,且罕见的或非预期的不良反应的人数超过20少于30人;或者引起特别严重不良反应的人数超过3

    2.同一批号药品短期内引起2人(含)以下患者死亡,且在同一区域内同时出现其他类似病例;

    3.短期内本省内1个市内2个以上县(市、区)因同一药品发生一般药品安全突发事件

    4其他危害较大的药品安全突发事件。

    一般

    IV

    符合下列情形之一的与药品质量相关事件:

    1.在相对集中的时间和区域内,批号相对集中的同一药品引起临床表现相似的,且罕见的或非预期的不良反应的人数超过10少于20人;或者引起特别严重不良反应的人数超过2

    2其他一般药品安全突发事件。


    附件2

    医疗器械安全突发事件分级标准

     

    事件类别

       

    特别重大

    I

    符合下列情形之一的与医疗器械质量相关事件:

    1.在相对集中的时间和区域内,批号相对集中的同一医疗器械引起临床表现相似的,且罕见的或严重不良事件的人数超过50,或者引起特别严重不良事件(可能对人体造成永久性伤残、对器官功能造成永久性损伤或危及生命,下同)的人数超过10

    2.同一批号医疗器械短期内引起5人(含)以上患者死亡

    3.短期内本省及其他1个以上省区、市因同一医疗器械发生重大医疗器械安全突发事件

    4其他危害特别严重的医疗器械安全突发事件。

    重大

    符合下列情形之一的与医疗器械质量相关事件:

    1.在相对集中的时间和区域内,批号相对集中的同一医疗器械引起临床表现相似的,且罕见的或严重的不良事件的人数超过30少于50人;或者引起特别严重不良事件的人数超过5

    2.同一批号医疗器械短期内引起2以上、5患者死亡;且在同一区域内同时出现其他类似病例;

    3.短期内本省内2个以上市因同一医疗器械发生较大医疗器械安全突发事件

    4其他危害严重的医疗器械安全突发事件。

    较大

    符合下列情形之一的与医疗器械质量相关事件:

    1.在相对集中的时间和区域内,批号相对集中的同一医疗器械引起临床表现相似的,且罕见的或严重的不良事件的人数超过20少于30人;或者引起特别严重不良事件的人数超过3

    2.同一批号医疗器械短期内引起2人(含)以下患者死亡;且在同一区域内同时出现其他类似病例;

    3.短期内本省内1个市内2个县(市、区)因同一医疗器械发生一般医疗器械安全突发事件

    4其他危害较大的医疗器械安全突发事件。

    一般

    IV

    符合下列情形之一的与医疗器械质量相关事件:

    1.在相对集中的时间和区域内,批号相对集中的同一医疗器械引起临床表现相似的,且罕见的或严重的不良事件的人数超过10少于20人;或者引起特别严重不良事件的人数超过2

    2其他一般医疗器械安全突发事件。


    附件3

    化妆品安全突发事件分级标准

     

    事件类别

       

    特别重大

    I

    符合下列情形之一的事件:

    1.有证据表明因使用化妆品而导致1(含)及以上死亡的

    2.在相对集中的时间,因使用同一注册人、备案人的化妆品在本省和其他1个以上省区、市引发重大化妆品安全突发事件的;

    3.同一注册人、备案人的化妆品因质量安全引发舆情事件、国务院领导批示的化妆品安全突发事件。

    重大

    符合下列情形之一的事件:

    1.在相对集中的时间和区域,经医疗机构确认,因使用同一品牌的化妆品而导致30例消费者产生严重不良反应、未出现死亡的;

    2.在相对集中的时间,因使用同一注册人、备案人的化妆品在本省内2(含)以上市引发较大化妆品安全突发事件的;

    3.同一注册人、备案人的化妆品因质量安全引发国家级媒体关注报道且引发社会广泛关注的舆情事件;

    4.省药监局认为应采取级应急响应措施的化妆品安全突发事件。

    较大

    符合下列情形之一的事件:

    1.在相对集中的时间和区域,经医疗机构确认,因使用同一品牌的化妆品而导致20例消费者产生严重不良反应、未出现死亡的;

    2.在相对集中的时间,因使用同一注册人、备案人的化妆品在本省1个市内2个以上县(市、区)引发一般化妆品安全突发事件的;

    3.属地监管部门认为应采取级应急响应措施的化妆品安全突发事件。

    一般

    IV

    符合下列情形之一的事件:

    1.在相对集中的时间,经医疗机构确认,因使用同一品牌的化妆品在本辖区内导致10消费者产生严重不良反应、未出现死亡的;

    2.属地监管部门认为应采取IV级应急响应措施的化妆品安全突发事件。


    附件4

    疫苗质量安全突发事件分级标准

     

    事件类别

       

    特别重大

    I

    符合下列情形之一的事件:

    1.同一批号疫苗短期内引起5例以上患者死亡,疑似与质量相关的事件;

    2.在相对集中的时间和区域内,批号相对集中的同一疫苗引起临床表现相似的,且罕见的或非预期的不良事件的人数超过20人;或者引起特别严重不良事件可能对人体造成永久性伤残、对器官功能造成永久性损伤或危及生命,下同的人数超过5人,疑似与质量相关的事件;

    3.其他危害特别严重且引发社会影响的疫苗质量安全事件。

    重大

    符合下列情形之一的事件:

    1.同一批号疫苗短期内引起2例以上、5例以下患者死亡,疑似与质量相关的事件;

    2.在相对集中的时间和区域内,批号相对集中的同一疫苗引起临床表现相似的,且罕见的或非预期的不良事件的人数超过10人、不多于20人;或者引起特别严重不良事件的人数超过3人、不多于5人,疑似与质量相关的事件;

    3.确认出现质量问题,涉及本省和其他1个以上省区、市的;

    4.其他危害严重且引发社会影响的疫苗质量安全事件。

    较大

    符合下列情形之一的事件:

    1.同一批号疫苗引起1例患者死亡,疑似与质量相关的事件;

    2.在相对集中的时间和区域内,批号相对集中的同一疫苗引起临床表现相似的,且罕见或非预期的不良事件的人数超过5人、不多于10人;或者引起特别严重不良事件的人数超过2,疑似与质量相关的事件;

    3.确认出现质量问题,涉及本省的;

    4.其他危害较大且引发社会影响局限于本省的疫苗质量安全事件。

    一般

    IV

    符合下列情形之一的事件:

    1.在相对集中的时间和区域内,批号相对集中的同一疫苗引起临床表现相似的,且罕见的或非预期的不良事件的人数超过3人、不多于5人;或者引起特别严重不良事件的人数超过1人,疑似与质量相关的事件;

    2.其他一般疫苗质量安全事件。

     

    附件5

    应急指挥部组成及职责

     

    应急指挥部:统一指挥、协调突发事件的应急处置工作,作出应急决策和部署,指导善后处置;审议重大信息的发布,审议批准区应急指挥部办公室提交的应急处置工作报告;向委、政府和相关部门报告有关情况。

    应急指挥部办公室:承担区应急指挥部的日常工作和突发事件处置中的综合协调工作;贯彻落实区应急指挥部各项部署;收集整理相关信息及时区应急指挥部汇报应急处置工作情况,通报应急处置工作进展;根据区应急指挥部授权,组织应急处置事件信息发布、接受媒体采访等;承担区应急指挥部交办的其他工作。

    委宣传部网信办依据本部门职责,加强对新闻媒体管理,负责组织药品安全突发事件的宣传报道和信息发布工作组织对涉及药品安全重大违法行为进行舆论监督,树立正确舆论导向督促指导有关部门开展涉及药品安全的重大网络舆情监测和处置,积极引导网上舆论,做好网上新闻和新媒体平台内容管理;配合区市场监管、公安瑶海分局等有关部门查处利用互联网从事涉及药品安全犯罪的行为。

    局:依据本部门职责,协助处置发生在学校或幼儿园的药品安全突发事件,做好在校学生、教职工的宣传教育和自我防护工作,并协助区市场监管卫生健康委等部门开展事件调查。

    工信局:依据本部门职责,负责药品安全突发事件处置所需相关产品、设备和装备的保障;做好应急药品、医疗器械储备和组织工作,保障应急供给。

    公安瑶海分局:依据本部门职责,负责维护药品安全突发事件处置中的治安秩序,协助做好社会面防控维稳、交通保障和事发现场保护等工作;负责组织指导涉及药品安全犯罪案件的受理、立案和查处工作;对发布虚假信息、造谣滋事等违法行为依法予以调查处理;依法查处阻碍执法监管部门工作人员执行公务的违法犯罪行为。

    民政局:依据本部门职责,负责药品安全突发事件发生后指导街镇开展对困难受害家庭基本生活的救助工作。

    财政局:依据本部门职责,负责药品安全突发事件应急处置所需经费的统筹保障。

    区住建局:依据本部门职责,负责药品安全突发事件应急处置过程中的道路等交通运力保障。

    文旅局:依据本部门职责,负责配合相关部门指导文化娱乐场所、A级旅游景区、旅游星级饭店等人群密集场所药品安全突发事件的预防、控制和处置,并协助区市场监管卫生健康等部门开展事件调查。

    卫生健康委:依据本部门职责,负责药品安全突发事件中的医疗救治工作,通报救治情况,配合区市场监管开展事件的调查和处理;必要时,对医疗机构使用的涉事产品采取暂停使用等紧急措施;负责指导开展诊疗活动的医疗卫生、计划生育技术机构依法履行事件报告责任;加强安全用药、合理用药宣传教育,指导督促医疗机构做好不良反应事件监测、报告和处理工作;与市场监管局建立重大不良反应事件相互通报机制和联合处置机制。

    应急局:指导药品安全事故应急预案修订与应急演练工作;按需求协调调度相关应急力量参与应急救援工作。

    市场监管局:负责区应急指挥部办公室日常工作和突发事件处置中的综合协调工作。依照本部门职责,负责组织药品安全突发事件的监督管理,及时收集有关信息,组织研判;组织开展事件调查,及时分析、评价不良反应(事件)数据报告,评估危害影响趋势,并对疑似不安全药品及时抽样送检,组织应急处置;负责编制、修订应急预案,组建专家组,制定应急处置的有关技术方案,依法采取应急处置措施;负责组织相关应急知识的宣传和培训,并组织开展应急演练;负责维护市场秩序,加强药品广告价格监管,依法查处药品、疫苗、医疗器械和化妆品流通领域不正当竞争、价格违法、广告违法等行为负责流通使用环节不良反应(事件)监测、报告管理和处置工作;负责落实药品安全信息统公布制度等工作。

    医保局:依据本部门职责,配合市医保局做好药品安全突发事件处置过程中的应急药品、医疗器械等产品的招标、医保支付等工作。

    信访局:负责处理药品安全突发事件中发生的群众来信来访事项,协助做好社会面维稳工作。

    街镇负责相关社区居民群众的安抚和解释工作,配合各相关单位开展药品安全突发事件应急处置及困难受害家庭基本生活救助等善后处置工作,维护好社区稳定

     

    附件6

    工作组职责

     

    综合协调组市场监管局牵头,财政局、卫生健康委、区住建局等部门组成,负责收集、汇总、上报突发事件信息和处置进展情况等工作,做好应急处置综合协调和后勤保障等工作。

    调查评估组市场监管局牵头,卫生健康委、公安瑶海分局等部门组成,专业技术机构配合。负责调查事件原因,评估事件影响,研判发展趋势,作出调查结论,提出相关防范建议和处理意见。

    危害控制组市场监管局牵头,卫生健康委、公安瑶海分局等部门组成。负责组织对涉事产品采取暂停生产、销售、使用接种等紧急措施;严格控制流通渠道,采取召回、下架等风险控制措施;对相关产品及原辅料、包装材料采取查封、扣押等措施,防止危害和影响蔓延扩大。

    医疗救治组卫生健康委牵头,医保局、市场监管局等部门组成。负责指导协调医疗机构,调配医疗专家,组织筛查和确认可疑病例,提出救治方案,迅速组织开展救治和心理疏导工作。

    社会稳定组由公安瑶海分局牵头,市场监管局、信访局等部门组成。负责加强社会治安管理,密切关注事态发展,严厉打击编造传播谣言,制造社会恐慌、趁机作乱等违法犯罪行为,依法处置因药品安全引发的各类群体性事件。

    新闻宣传组委宣传部网信办牵头,市场监管局等部门组成。负责突发事件处置的宣传报道和媒体采访管理工作;跟踪内外舆情,及时、客观通报相关情况,妥善处置事件引发的舆情;经区应急指挥部授权,组织召开新闻发布会,做好信息发布工作。


    附件7

     

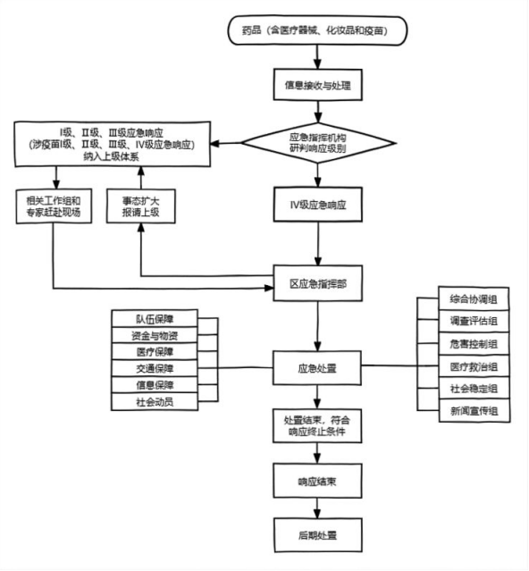
    瑶海区药品安全突发事件应急处置流程图

     

    扫一扫在手机打开当前页
    赌钱娱乐-线上赌钱-线上赌钱平台 网络十大博彩app下载-世界十大博彩app下载 澳门新葡京博彩官网-澳门新葡京博彩平台 网络十大博彩app下载-世界十大博彩app下载 网上买球线上平台 - 首页 蚂蚁超级镜像 镜像程序 网站离线镜像 整站下载器 一键镜像站群 301镜像站群 网站镜像克隆 YES镜站站群引擎 霸屏SEO镜像站群 >网站地图-sitemap